网站首页 关于AG尊龙 产品中心 行业应用 新闻资讯 联系我们
English
400 860 2003

销售咨询热线(365天24小时)

——
0512-63204828

售后服务热线

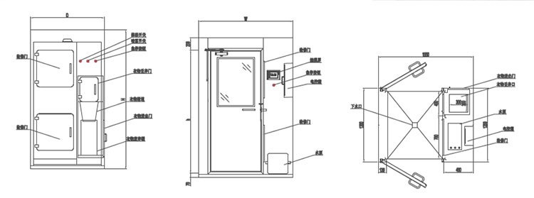
雾淋室
结构形式
雾淋室用于实验室或车间等特殊环境下,,为确保生产过程中或生产结束后,,人员离开车间时,,,,通过雾淋去除洁净服表面粘附的活性或毒性粉尘颗粒的设备。。。该设备有四大系统组成:围护结构、、水系统、、、、喷雾系统、、自控系统,,,,围护结构使用304不锈钢材料拼装成型,,每个雾淋室相互独立;水系统是由水泵、、、管道、、、、阀门、、、传感器等组成,,,为雾淋室供水;喷雾系统设置细水雾和大水雾两种模式,,,可自由切换;自控系统由PLC、、、液晶屏及相关自控原件组成,,,雾淋时间可现场设置,,进出门电子互锁。。。
*
*
*
换一张 * 点击图片刷新

官网微信平台

移动端

扫一扫,,,关注我们
400 860 2003
邮箱:market@linsen.group
地址:苏州市吴江汾湖高新区金周路2468号
分享:
友情链接
© 2021 苏州AG尊龙净化集团有限公司 备案号:苏ICP备2021044583号
站点地图